RCDE電磁油冷除鐵器
時間:2016-09-01 11:07:07


一、概述:
RCDE系列油冷式電磁除鐵器,內部采用國際變壓器先進技術,變壓器油循環冷卻,全密封結構,具有磁力大、防塵、防雨、耐腐蝕、連續工作使用壽命長等特點,對輥壓機、破碎機等機械設備起著可靠的保護作用.其主要性能指標均達到或高于JB/T7689-2004標準要求,該產品可除去混雜在非磁性物料中0.1~35公斤的鐵磁性物質。
二、主要技術參數:

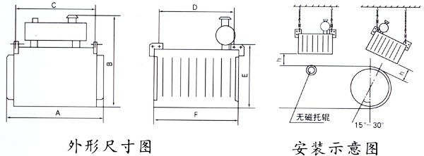
| 型號 | 適應帶寬mm | 額定吊高h mm | 磁場強度≥mT | 物料厚度≤mm | 勵磁功率≤kw | 外形尺寸mm | 重量kg | |||||
| A | B | C | D | E | F | |||||||
| RCDE-4 | 400 | 100 | 70 | 60 | 0.6 | 500 | 620 | 350 | 250 | 400 | 400 | 300 |
| RCDE-5 | 500 | 150 | 100 | 1 | 670 | 760 | 480 | 300 | 475 | 500 | 500 | |
| RCDE-6 | 600 | 175 | 125 | 1.5 | 775 | 835 | 580 | 450 | 530 | 600 | 650 | |
| RCDE-6.5 | 650 | 200 | 150 | 2 | 795 | 855 | 590 | 490 | 550 | 650 | 750 | |
| RCDE-8 | 800 | 250 | 200 | 3 | 1050 | 980 | 770 | 620 | 670 | 835 | 1150 | |
| RCDE-10 | 1000 | 300 | 250 | 4.5 | 1400 | 1160 | 940 | 800 | 755 | 1000 | 1400 | |
| RCDE-12 | 1200 | 350 | 300 | 6 | 1460 | 1190 | 1260 | 1070 | 780 | 1290 | 2780 | |
| RCDE-14 | 1400 | 400 | 350 | 8.5 | 1700 | 1280 | 1500 | 1340 | 800 | 1560 | 4200 | |
| RCDE-16 | 1600 | 450 | 400 | 12.5 | 1950 | 1370 | 1850 | 1630 | 860 | 1850 | 5700 | |
| RCDE-18 | 1800 | 500 | 450 | 18 | 2170 | 1490 | 2050 | 1880 | 950 | 2000 | 7300 | |
注:
1.本設備磁場強度均有高于國標的T1,T2,T3磁場,額定吊高出磁場強度分別90mT,120mT,150mT。
2.本設備各型號具體尺寸可根據用戶需求制作。
3.傾斜式安裝訂貨時請注明傾斜角度。
